k8凯发

技术支持

技术支持 网关与PLC已连接,但是采集不到数据,网关后台实时数据的状态信息提示disconnect device

网关与PLC已连接,但是采集不到数据,网关后台实时数据的状态信息提示disconnect device

发布时间:2022-11-25

阅读量:33次

请分别从以下几个方面进行检查:

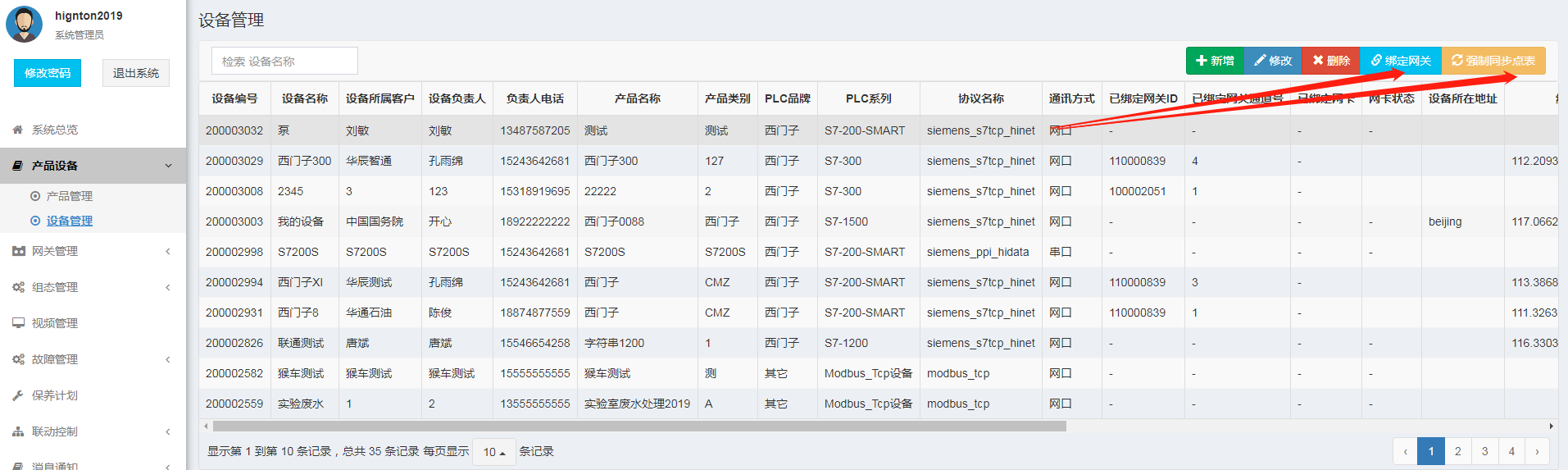
1. 点表中PLC的IP是否正确,以思普云平台采集数据为例,思普云平台的“产品设备”——“ 设备管理”处,选择设备点击【绑定网关】,设备IP填PLC的IP,再强制同步点表。

 

2. 网关LAN口IP与PLC的IP是否在同一网段,进网关后台,点击“通讯设置 - LAN设置”,修改网关LAN口IP,使其与PLC的IP处于同网段。

 

3.网关设置未生效,以通用云采集数据为例,在网关后台上传点表后需重启网关生效。

特殊情况如下:

1. 如果是串口PLC,检查串口是否打开,以及串口的端口是否正确,进网关后台“通讯设置 - 串口设置”,勾选【启用】,串口一的端口为1989,串口二的端口为1990。

 
2.欧姆龙网口PLC,驱动选UDP。
3.三菱Q内置网口,加一个mc协议端口,端口号设置成5010,(端口号不限制)设置之后重启plc,第一个UDP协议不可删除。
4.西门子200smart PLC,思普云上产品协议选的是西门子200的协议。重新建产品,选西门子200smart协议。
5.三菱FX5U,只设置了IP没有设置端口。用GXworks设置端口后,思普云平台设备管理处,设备绑定网关,端口填PLC的端口号。
6.simotion  D435控制器,只能用西门子300的协议采集数据。
前一篇:工业APP可对工业数据承载和工业数据上云 返回列表 下一篇:网关与PLC已连接,但是采集不到数据,网关后台实时数据的状态信息提示channel_1.json file does not search

帮助企业低成本、高效率、专业化建立属于自己的工业互联网平台!

立即咨询